Ò»Ñùƽ³£ÉúÑÄÖУ¬ÎÒÃdz£½Ó´¥µ½ÖÖÖÖ´ÅÐÔ²úÆ·£¬Èç¶ùÍ¯Íæ¾ß¡¢Îľߡ¢Ö鱦£¨°üÀ¨¶ùͯÖ鱦£©¡¢ÎÄ´´±ùÏäÌùµÈ¡£´ÅÐÔ²úÆ·ÒòÆäÆæÒìµÄÎü¸½ÌØÕ÷£¬¶Ô¶ùͯºÍ³ÉÈ˶¼¾ßÓнÏÇ¿ÎüÒýÁ¦£¬µ«Í¬Ê±Ò²Òþ²Ø×ŽûÖ¹ºöÊÓµÄÇ徲Σº¦¡£
¡¡¡¡¸ß´ÅÐÔС´ÅÌåµÄÖÂÃüΣº¦Ïê½â
ÖÏÏ¢Ó볦µÀΣÏÕ
¡¡¡¡´ÅÐÔ²úÆ·ÖеÄС´ÅÌåÈôÊDZ»Ó×¶ù·ÅÈë¿ÚÖУ¬¿ÉÔì³ÉÖÏϢΣº¦¡£Á½¸ö»òÁ½¸öÒÔÉϵĴÅÌåÈô±»¶ùͯÎóÍÌ£¬Æä´ÅÌåÇ¿¶È¿ÉÄÜʹÕâЩÎïÌå»á͸¹ý³¦±ÚÏ໥ÎüÒý£¬´Ó¶øµ¼Ö³¦´©¿×»ò³¦¹£×èµÈÑÏÖØÎ£ÏÕ£¬ÉõÖÁΣ¼°ÉúÃü¡£´ÅÌåÇ¿¶ÈÔ½´ó£¬ÍÌÈëÌåÄÚºóÔì³ÉµÄΣÏÕΣº¦Ò²Ô½´ó¡£´ËÀàʹÊÔÚº£ÄÚÍâÒѶà´Î±¬·¢£¬ÉõÖÁÔøÓÐÖÂËÀ°¸Àý¡£°Ä´óÀûÑÇÐû²¼µÄ“2012ÄêµÚ5ºÅÏûºÄÕß±£»¤Í¨¸æ”ÖУ¬¶ÔijЩº¬ÓÐСÐ͸ߴÅÐÔ´ÅÌåµÄÏûºÄƷʵÑéÁËÓÀÊÀ½ûÁî¡£
²úÆ·ÕÙ»ØÆµ·¢
¡¡¡¡º£ÄÚÍâ²úÆ·Ç徲ת´ïϵͳÖУ¬º¬Î£ÏÕ´ÅÌåµÄ´ÅÐÔ²úÆ·Õٻذ¸ÀýƵ·¢£¬·´Ó¦³öÏà¹ØÖÆÔìÉÌÔÚ²úÆ·Éè¼ÆÓëÉú²ú»·½ÚÈÔ±£´æÏÔ×Åȱ·¦£¬ÓÈÆäÊÇÔÚ´ÅÌåµÄÀο¿·½·¨ºÍ½á¹¹Çå¾²Éè¼Æ·½Ã棬Ò×µ¼Ö´ÅÌåËɶ¯»òÍÑÂä¡£Òò´Ë£¬ÆóÒµÓ¦¸ß¶ÈÖØÊÓ²¢ÑÏ¿á×ñÕÕº£ÄÚÍâÏà¹Ø¹æÔòÓë±ê×¼ÒªÇó£¬ÔÚ²úÆ·Éè¼Æ¡¢Éú²ú¼°¼ì²â½×¶ÎÂäʵÇå¾²²½·¥£¬È·±£´ÅÐÔ²¿¼þ±»Àο¿Ç¶ÈëÇÒ²»¿É±»ÈÝÒ×´¥¼°£¬´Ó¶ø´ÓÔ´Í·ÉϽµµÍ¶ùͯÎóÍÌ´ÅÌåµÄΣº¦¡£

¡¡¡¡¸÷¹ú¶Ô´ÅÐÔ²úÆ·µÄ¹æÔò¹Ü¿ØÒ»ÀÀ
¡¡¡¡¹æÔò±ê×¼ÒªÇó´ÅÐÔ²úÆ·Öв»Ó¦º¬ÓлòÒ×ÍÑÂäΣÏÕ´ÅÌå¡£

¡¡¡¡×÷Éõ“ΣÏÕ´ÅÌå”
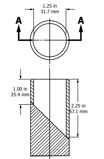
¡¡¡¡Íæ¾ß±ê׼ͨ¹ý´ÅͨÁ¿Ö¸ÊýÀ´È¨ºâ´ÅÌåÇ¿¶È£¬´ÅͨÁ¿Ð¡ÓÚ50 kG²mm²±»ÊÓΪÄÜÈ·±£Çå¾²¡£´ÅͨÁ¿Ö¸Êý¼´ÊÇ»òÁè¼ÝÕâÒ»ÏÞÖµµÄ´ÅÌ壬ÈôÊÇÄܹ»ÍêÈ«ÈÝÈëСÁã¼þʵÑéÆ÷£¨¼ûÏÂͼ£¬µ¥Î»ÎªºÁÃ×£©£¬ÔòÒÔΪÊÇΣÏÕ´ÅÌ壬²»µÃÓÃÓÚÍæ¾ßÖС£

¡¡¡¡Æ¾Ö¤²î±ð¹ú¼ÒµÄÍæ¾ß±ê×¼ÒªÇ󣬰´Ë³Ðò¾ÙÐнþÅÝ¡¢µøÂä¡¢Çã·£¨´óÐÍ´Ö±¿Íæ¾ß£©¡¢Å¤¡¢ÀÁ¦¡¢¹¥»÷¡¢Ñ¹Á¦µÈÀÄÓòâÊÔǰºó£¬Íæ¾ß²»Ó¦º¬Óлò¿ÉÍÑÂäËÉÉ¢µÄΣÏÕ´ÅÌå»ò´ÅÐÔ²¿¼þ¡£±ê×¼Õë¶Ô´ÅÌå°¼ÏÝÔÚÄÚ¶ø²»¿É¾ÙÐÐÕý³£µÄŤ¡¢ÀÁ¦²âÊÔ£¬»¹ÒýÈëÁË´ÅÌåÀÁ¦²âÊÔ£¨10´Î£©£¬¶øÃÀ¹úASTM F963±ê×¼ÒªÇó¸üÑϿᣬÐèÒªÔÚÀÄÓòâÊÔǰºó¾ÙÐÐ1000´Î´ÅÌåÑ»·ÀÁ¦²âÊÔ£¬ÒÔʹÔÚÕý³£ºÍ¿ÉÔ¤¼ûÍæË£ÖдÅÌåÊèÉ¢µÄΣº¦½µµ½×îµÍ¡£ÃÀ¹úºÍ°Ä´óÀûÑǵÄÏûºÄÆ·¹æÔò£¬ÔòÒýÓÃÁËÍæ¾ß¹æÔò±ê×¼µÄ²âÊÔÒªÇóºÍÒªÁì¶Ô´ÅÐÔ²úÆ·¾ÙÐйܿء£
¡¡¡¡´ÅÐÔ²úÆ·Ç徲ѡ¹º½¨Òé
¡¡¡¡¢Ùº¬¶à¸öС´ÅÌåµÄ²úÆ·£¬Èç´ÅÁ¦Öé¡¢´ÅÁ¦ÆåµÈ£¬²»½¨Òé×÷Ϊ¶ùÍ¯Íæ¾ß¹ºÖÃ
¡¡¡¡¢Ú±ÈÕÕǶÈëʽС´ÅÌå±ùÏäÌù£¬½ÓÄÉÈí´ÅƬ±³½ºµÄ±ùÏäÌù´ÅͨÁ¿Ö¸Êý¸üµÍ
¡¡¡¡¢Û×èֹѡ¹º´ÅÌå°¼ÏÝÔÚÍâ¡¢Õý³£Ê¹ÓÃʱÈÝÒ×ÍÑÂäµÄ²úÆ·
¡¡¡¡¢ÜÓÅÏÈÑ¡Ôñ´ÅÌåÄÚÖᢲ»¿É´¥¼°£¬Õý³£Ê¹ÓÃʱ²»Ò×ÍÑÂäµÄ²úÆ·
¡¡¡¡CTI9888À˹ά¼Ó˹¼ì²â½¨Òé
¡¡¡¡¿ç¾³Æ½Ì¨ÊDzúÆ·ÏúÍùº£ÄÚÍâµÄÖ÷ÒªÇþµÀÖ®Ò»£¬ÖÆÔìÉÌӦȷ±£ÆäÏúÊÛµÄÖÖÖÖ´ÅÐÔ²úÆ·Çкϸ÷µçÉÌÆ½Ì¨µÄ²úÆ·¹Ü¿ØÇå¾²ÒªÇó£¬CTI9888À˹ά¼Ó˹¼ì²â¿ÉΪ´ÅÐÔ²úÆ·³öº£¾ÙÐдÅÌúÇå¾²µÄÊÖÒÕ×ÉѯºÍ²úÆ·Çå¾²¼ì²â¡£













































ÔÁ¹«Íø°²±¸ 44030602000441ºÅ 